MachineryOffers

Factory direct sales feed machinery double hole high quality hammer hammer beater

Product details
Material:carbon, stainless steelplace of origin; place of origin:China
Health status:usedWarranty:3 years
Applicable industries:manufacturing plantMarketing Type:other
Mechanical test report:ifuse:cultivator
type:bladeVideo shipment inspection:if
size:custom madeWeight (kg):5 kg
application:for hammer millspayment terms:Western Union, D/P, T/T, MoneyGram
Showroom location:not any
Product Description
Tungsten carbide hammer
We can produce tungsten carbide hammer and smooth hammer

A. Tungsten carbide hammer
1. Shape: single head single hole, double head double hole
2. Size: various sizes, customized
3. Material: high-quality alloy steel, wear-resistant steel
4. Hardness:
HRC90-95 (carbide)
Carbide Surface Carbide – HRC 58-62 (materialax)
C1045 Heat Treated Body – HRC 38-45 & Stress Relieved
Around the hole: hrc30-40
Single layer: tungsten carbide layer height up to 5mm
The total wear-resistant height reaches 8mm. Its service life is 2-4 times that of
of similar products. It can reduce the crushing cost by 50% and save replacement
time.

Double layer: tungsten carbide layer height up to 8mm
The total wear-resistant height reaches 12mm
It has incomparable advantages

B. Smooth hammer blade
1. Shape: single head single hole, double head double hole
2. Size: various sizes, customized.
3. Material: high-quality alloy steel, wear-resistant steel
4. Hardness: around the hole: hrc30-40, hammer blade head hrc55-60, the wear angle is increased and thickened; this
The wear-resistant layer reaches 6mm, which is a product with high cost performance
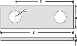
Please provide the hammer size according to the figure belowDimensions of the hammer A: Thickness B: Width C: Diameter to fit rod size D: Swing length E: Overall length
VIEW MORE