MachineryOffers

ZH-M1100PC 3 Points Glue Corrugated Box Making Machine

Product details
Applicable Industries:Retail,Food Shop,Printing Shops;Port:Ningbo port logistics;
Payment Terms:L/C,T/T;Application:Food,Commodity,Medical;
Folding way:4 Fold 180 Degree;Condition:New;
Feeding way:Continuously Feeding;Supply Ability:40 Set/Sets per Month;
Type:Gluing Machine;Packaging Type:Cartons;
Dimension(L*W*H):19600*2700*1650mm;After-sales Service Provided:Field installation, commissioning and training;
Certification:CE;Color:Grey;
Automatic Grade:Automatic;Voltage:380V,50HZ;
Function:Paper Cardboard Box Gluing Machine;Brand Name:ZIHONG;
Driven Type:Electric;Speed:450m/min;
Weight:15T;Warranty:1 year;
Model:ZH-M1100PC;Box forming:Sides Fold;
Packaging Detail:Film package;Glue type:Normal Cold Glue;
Product name:Automatic Carton Box Folder Gluer;Packaging Material:Film package;
Place of Origin:Zhejiang China;Warranty:1 Year;
Product Description

ZH-M1100PC 3 Points Glue Corrugated Box Making Machine

Characteristics

1.Driving by synchronous belt,ensure smooth and accurate running.
2.Inverter driving,stable and power saving.
3.Use electric adjust,easy operate.
4.Automatic continuous feeding,use multiple belt with vibrating motor,(for higher configuration use drilled suction belt),to keep the feeding stable.
5.Automatic counting and kicking,quantity can preset.
6.Conveyer pressure adjustable according to the box to ensure best quality.

Main technical parameter
Model
ZH-M1100PC
Suitable materia
Card board 210gsm-850gsm,N/E/F/B flute corrugated board
Feeding method
Automatic continuous feeding
Max speed
450m/min
Overall dimension
19600*2700*1650mm
Weight
15T
Power consumption
27.2KW,380V,50HZ
Machine  configuration
Main motor
Siemens
PLC
LS
Inverter
LS
Touch screen
LS
Feeder belt
NITTA JAPAN
Ribbed belt
Hutchinson
Driving Bearing
NSK JAPAN
Plain belt
NITTA Japan
Low voltage apparatus
Schneider
Machine parts

Feeder Section

● Equipped with vibrating motor.
● With independent transmission,low noise,with front adjustable wheels,max working capacity can be achieved.
● Feeding knives and left and right registers fixing bar are controlled up and down by pneumatic system easily.
● Feeding knifes are equipped with pneumatic mechanism for smoother feeding.
● Configure the display, real-time monitoring of the paper is normal

Paper Alignment System


● Automatic alignment system to correct the paper feeding,avoid the paper going to sides.
● UV destroying device and dust removing device for better gluing effect.

Bottom Lock Section


●Configure the spray gun system for automatic spray.
●Lock-bottom assembly mechanism with high elastic hookers is of ideal design,fast and easy operation.

Folding Section

●Equipped with speed variator for belts,ensure the folded boxes parallel and in good order.

●Fast,convenient adjustment and operation can fold boxes perfectly.

●The middle up and down transmission module can fold boxes synchronously or alternately

Press Section

●Adjust the pressure with the upper and lower belts.For flute A,B corrugated board,overlapping and jogger devices are equipped to ensure box gluing well.
●After kicker is set up,whatever speed the machine runs,the kicker can automatically follow,no need to reset it. 

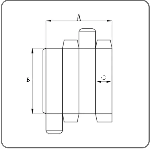
Box size


Straight line box
double sides box
crash-lock bottom box
4-corner box
6-corner box
A
MAX
11OO
1100
1000
960
950
MIN
180
200
180
180
300
B
MAX
1100
900
1100
800
800
MIN
70
120
70
80
80
C
MAX
400
200
250
150
150
MIN
15
20
30
25
25
Packing & Delivery
Our Service

Pre-Sales Service

* Inquiry and consulting support. 

* Sample testing support. 

* View our Factory.

After-Sales Service

* One year guarantee time.
* Present a set of wearing parts in wooden case before delivering the machine for free.
*If parts (except wearing parts) are broken within guarantee time (it is not caused by human factor), they will be changed for free. 

FAQ

1.Which machine do you require?

Pls contact our sales,who will assist you to select the best machine to suit your requirements.


2.What's your payment methods?

We accept T/T,L/C,Alipay etc.


3.What about the manufacturing details?

We anufacture ,test and pack the machines.We also include spares,operating manual,video and photos of delivery.


4.Terms of payment?

30% for deposit,the balance is paid before shipping.


5.What about installation?

We can offer you our engineers to install and train worker in your factory.You pays all the expenses including the air ticket,food and accommodation and salary 100usd/day for engineer during this period.

Certifications
Our Company
Related Products
ZH-A1050S folder gluer


ZH-L1100S folder gluer


ZH-M1050S folder gluer

VIEW MORE